仅需
5
秒 让
融营
更懂您
请选择产品类型
点击拨号API
销售加SCRM
隐私保护通话
语音通知接口
语音验证接口
短信验证接口
空号检测接口
请选择行业类型
教育培训
电子商务
房地产
知识产权
人力资源
企业服务
财税行业
保险行业
餐饮行业
招商加盟
其他
一键生成解决方案
×
需要免费专属解决方案请留下联系方式
获取手机验证码
提 交
确定
图形验证码
确定
免费试用
QQ咨询
电话咨询
售前咨询:
400-6232-032
售后服务:
18521946661
在线咨询
回到顶部
切换导航
首页
产品
PAAS平台
点击拨号API
通过API开放平台能力,让客户定制自己的呼叫中心
隐私保护通话
多种隐私号码绑定模式,可灵活设置来电显示号码
短信验证
高并发,快速高效,批量通知
语音验证
5秒必达,安全稳定,轻松接入
语音通知
全网覆盖,高到达率,超低价格
空号检测
检测成本低,批量检测快,数据更精准
云通信SCRM
销售加SCRM
销售加新一代移动云通信SCRM
融合办公
一机双号
融合办公
移动销售
行业
教育行业
互联网行业
保险行业
财税行业
企业服务行业
房地产行业
电商行业
知识产权行业
房地产行业
餐饮行业
人力资源行业
帮助中心
接入指南
功能说明
常见问题
关于我们
公司介绍
新闻动态
媒体报道
下载APP
快速咨询热线
400-6232-032
登录
免费试用
帮助中心
开发指南
开发流程
注意事项
用户指南
用户业务试用指南
开发文档
API接口文档
接口文档下载
开发实例
AJava-API-Demo
PHP-API-Demo
Pythhon-API-Demo
ASP.NET-API-Demo
相关问题
错误编码
开发流程图
接口开发流程关系图,云通讯赋能平台对坐席外呼以及进线流程分析图,此关系图可清晰说明开发流向, 方便第三方平台快速了解云通信系统赋能平台,如有疑问可直接联系相关技术人员沟通;
接口调用顺序参考图
技术支持
请拨打400电话或从网页中的入口联系我们咨询相关业务
若需要可给您安排客户经理务
开发过程请查看文档,我们还提供在线技术支持来解决您可能遇到的问题并协助您使用;
获取测试账号
在明确需求后跟客户经理申请测试账号,用于后期的开发测试使用
测试账号使用期限为15天,到期后将会暂停使用,请提前跟客户经理做延期处理;
开发测试
在测试账号上,根据自己的需求,进行功能点的开发测试工作
在开发测试期间会有专门负责进行对接的技术人员跟进开发进度、解决中途遇到的电销系统对接问题;
正式使用
开发测试完成后,跟客户经理开通正式环境账号,把功能点迁移到正式账户上;
使用过程中遇到售后、故障等相关问题可通过400电话或客户经理联系我们;
超10000+ 企业选择我们,免费快速获取报价和方案!
免费获取报价
温馨提示:我们将在您提交信息后的30分钟内与您取得联系,请您保持电话通畅,谢谢!
加密检测工具
加密地址检测工具推荐使用站长工具:http://tool.chinaz.com/tools/md5.aspx
测试工具
测试工具推荐使用Fiddler,可自行去百度下载相关插件
请求格式如下,如有疑问可联系相关技术人员协助处理
超10000+ 企业选择我们,免费快速获取报价和方案!
免费获取报价
温馨提示:我们将在您提交信息后的30分钟内与您取得联系,请您保持电话通畅,谢谢!
一、创建应用
创建应用是开发者的首要任务,只有创建好任务后,才可通过应用来归类相关外呼任务,可对该应用进行设置,包括该应用的回调地址、进线推送等;
注意事项:
1. 当应用未审核通过时,此应用不可使用;
2. 应用申请上线通过后方可正式使用;
3. 无应用时可通过【创建应用】来创建使用;
4. 应用余额可通过【应用管理】进行充值;
5. 当前应用余额不足时则不能进行外呼、进线;
二、号码列表
开发者拿到号码后方可创建坐席进行外呼操作,号码申请成功后,平台自动会添加到对应应用下;
注意事项:
1. 号码必须在应用上线审核完成后才可使用;
2. 每个应用对应的号码只能被该应用下坐席使用;
3. 号码被投诉后则立即被关停,恢复时间待定;
三、创建坐席
创建坐席成功后方可直接外呼、调用接口外呼,如坐席被关停或非正常时则不能进行外呼、呼入操作;
注意事项:
1. 坐席只能在指定应用下创建;
2. 如果应用列表为空,请先【创建应用】;
3. 请严格按照坐席创建模版上传文件,下载坐席创建模版;
4. 模板中号码必须是存在于号码列表中对应应用下号码,否则,创建失败;
5. 号码被关停后,只能通过接口更改外显号码;
6. 创建坐席后会立即扣除该坐席对应费用,请谨慎增加坐席;
四、账号充值
充值说明:
我们提供在线充值服务(支付宝、银联)及银行对公汇款;
请尽量保障账户余额大于您在资费配置内设置的保底套餐额度,避免因余额不足造成业务中断;
五、话单详情
根据相关条件可直接在平台查看相关话单详情,也可通过接口来获取相关话单信息,以保存第三方自有平台进行后期统计分析;
超10000+ 企业选择我们,免费快速获取报价和方案!
免费获取报价
温馨提示:我们将在您提交信息后的30分钟内与您取得联系,请您保持电话通畅,谢谢!
一、介绍
1.1 Base URL
文档中所被引用的Base URL地址都可在平台开发者主账号信息里查看;
1.2 统一请求包头
1.3 HTTP 标准报头字段(必填)
Accept:application/json;
Content-Type:application/json;charset=utf-8;
Authorization:NGJjMzM0Nzk2M2IwMDdjZDI1N1mQ8YTQyNGU3MjE6xNzA1MDUxODAwNDM
各属性说明如下:
1)Sig, REST API 验证参数:
a) Sig 是 URL 必带参数,baseurl?Sig={$Sig};
b) 使用 MD5 进行 Hash 运算(32位大写):Sig = MD5(账户授权ID:应用ID:时间戳),转成大写, 时间戳是当前系统时间(24小时制),格式:yyyyMMddHHmmss;
2)Authorization:报头验证信息:
a) Auth=Base64(应用ID:应用Token:时间戳),用base64编码;应用ID与Sig中相同;
3) 时间戳是当前系统时间(24小时制),格式: yyyyMMddHHmmss;
4) Content-Type:
a) 数据包主流格式:Json,Content-Type 为Application/json; charset=utf-8;
b) 与此相对应, Accept对应等于Application/json。
二、云通信系统赋能平台API接口
坐席外呼
用于客户调用此接口实现话机呼叫到被叫号码;通过本接口,第三方平台可以给云通信系统赋能平台发送呼叫请求, 平台分别先后呼叫座席和客户,并把双方接通以实现双方正常通话;
2.1 请求方法
2.2 请求参数说明
2.3 响应参数明
2.4 响应参数说明
2.5 注意事项
1. 坐席外呼首先保证坐席正常登陆,否则不能进行外呼功能;
2. 确保该坐席对应应用余额正常;
3. 检查应用是否正常;
4. 前提是进行外呼的座席必须在线,否则无法进行外呼;
5. 呼叫过程中会先呼叫座席,座席接听后系统会呼叫客户;
超10000+ 企业选择我们,免费快速获取报价和方案!
免费获取报价
温馨提示:我们将在您提交信息后的30分钟内与您取得联系,请您保持电话通畅,谢谢!
小号AX模式开发文档
隐私保护通话AX模式中,A为业务受益用户,为了保护A的真实号码不被泄露,在隐私保护通话平台为A绑定一个虚拟号码X, A用户对外只呈现X号码,所有与A用户建立的通信都是通过X号码建立。AX模式下的X号码只专属于A号码, 即一个虚拟号码X只能绑定一个A号码,当X号码和A号码解除绑定关系后,该X号码可以被回收,供其他号码绑定。
具体开发接口信息请参考
小号AXB模式开发文档
隐私保护通话AXB模式中,A和B为相互保密的两个业务受益用户,A和B用户都不知道对方真实号码的存在, 为了双方的真实号码不被泄露,在隐私保护通话平台为A和B用户绑定一个虚拟号码X,A和B用户对外只呈现X号码, A和B之间的通信都是通过X号码进行转接。此时,A、B以外的其他号码拨打X,则无法接通。 AXB模式下X号码允许被多组号码进行绑定,多组号码中的A和B号码不能重复。当X号码和A、B号码解除绑定关系后, 该X号码可以被回收,供其他号码绑定。
具体开发接口信息请参考
点击回呼开发文档
用户Jack在浏览网站时,通过应用软件呼叫客服人员, 呼叫请求上报至RTC业务平台。RTC业务平台分别呼叫主叫Jack和客服Sophia,使主叫和被叫互相通话。
具体开发接口信息请参考
电销系统开发文档
电销系统,可外显我方申请的云固话号码,外呼接口需要与相关软电话、IP话机相配合使用,适用于互联网实现企业电话;
具体开发接口信息请参考
超10000+ 企业选择我们,免费快速获取报价和方案!
免费获取报价
温馨提示:我们将在您提交信息后的30分钟内与您取得联系,请您保持电话通畅,谢谢!
Java相关实例
超10000+ 企业选择我们,免费快速获取报价和方案!
免费获取报价
温馨提示:我们将在您提交信息后的30分钟内与您取得联系,请您保持电话通畅,谢谢!
PHP相关实例
超10000+ 企业选择我们,免费快速获取报价和方案!
免费获取报价
温馨提示:我们将在您提交信息后的30分钟内与您取得联系,请您保持电话通畅,谢谢!
Python相关实例
超10000+ 企业选择我们,免费快速获取报价和方案!
免费获取报价
温馨提示:我们将在您提交信息后的30分钟内与您取得联系,请您保持电话通畅,谢谢!
ASP.NET相关实例
超10000+ 企业选择我们,免费快速获取报价和方案!
免费获取报价
温馨提示:我们将在您提交信息后的30分钟内与您取得联系,请您保持电话通畅,谢谢!
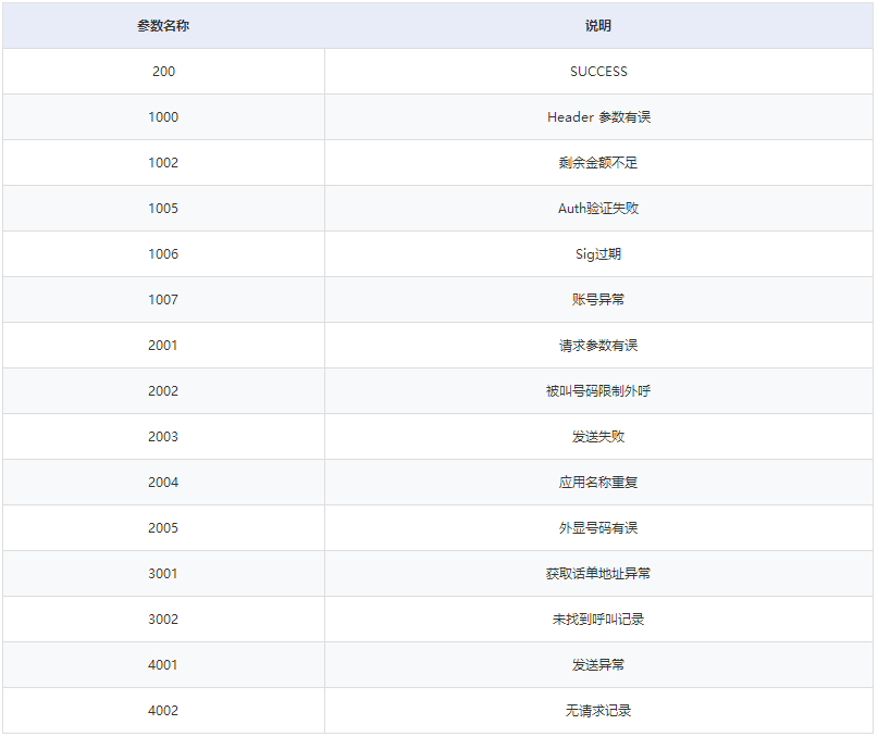
API接口调用时异常返回值参数对应说明表;
超10000+ 企业选择我们,免费快速获取报价和方案!
免费获取报价
温馨提示:我们将在您提交信息后的30分钟内与您取得联系,请您保持电话通畅,谢谢!